Web 应用防火墙
WAF (Web 应用防火墙)通过检查 HTTP/HTTPS 流量来实现内容过滤, 可以防止针对 Web 应用程序漏洞的攻击,如 SQL 注入、跨站点脚本(XSS)、文件包含漏洞以及安全配置错误等。 CC 防护功能可以降低攻击对系统的影响,通过自定义规则可以灵活有效的阻止非法流量,保证应用的稳定运行。 WAF 部署在负载均衡器(LoadBalancer)之上,本指南旨在介绍如何通过配置 WAF 来实现内容防护。
新建 WAF
WAF 是跟负载均衡器(LoadBalancer)一起部署的,所以新建 WAF 需要新建负载均衡器并对其配置。 WAF 的策略配置项在这里可以修改,下面会分别讲到。
第一步:创建一个负载均衡器
首先,你需要创建一个负载均衡器。 在创建的对话框中,可以选择是否开启 WAF ,开启 WAF 之后会选择要求绑定一个全局配置组。
\ 
注解:开启 WAF 需要额外的计算资源, 请选择最大连接数 20000 及以上的规格。
第二步:新建监听器
当负载均衡器创建完成之后,我们需要新建一个 HTTP/HTTPS 协议的监听器。 监听器建好之后,可以给其配置 WAF 域名防护策略。
点击 “加载” 可以弹出 WAF 域名防护策略的选择页面:
目前没有配置 WAF 域名防护策略,所以这里是空的。
第三步:配置 WAF 域名防护策略
WAF 的防护是以域名为单位,可以针对指定的域名配置具体的策略, 当 WAF 收到 HTTP/HTTPS 请求时,先判断域名是否在保护列表中,命中域名则进行后续的内容检查。 一个监听器可以配置最多 100 个域名防护策略。 选择 Web 应用防火墙,在 WAF 域名防护策略组里可以新建防护策略
注解 主机域名为必填项,可使用 * 匹配所有二级域名,域名必须与后端服务器域名匹配。
在 “行为” 一栏可以选择命中 WAF 规则时的响应动作,默认为执行规则内容,根据规则定义的动作来响应。 也可以配置为 “仅报告”,这样就是 “旁路观察” 模式,对命中规则的请求只记录日志不做阻断。
第四步:配置 WAF 检测规则
创建好域名防护策略之后,WAF 就会加载系统的默认检测规则,这些规则由青云维护并更新: 除了基于签名的规则防护之外,也可以选择基于语法的 SQLI 和 XSS 防护,开启这两个功能之前,可以配置为只记录日志观察一段时间。
用户也可以根据自己 Web 应用的特点,定制 WAF 检测规则,点击自定义规则下的 “创建” 可以弹出新建窗口:
规则的行为可配置为观察模式或者阻断模式,观察只记录不阻断对业务系统无影响,也可以配置限速限流。
注解: 新增规则时请配置为观察模式,待规则稳定之后再修改为阻断模式。
规则配置要填写要检测的 HTTP 协议字段内容,当前一条规则支持配置检查 5 个协议变量,提交修改之后可以看到填写的内容。
除了可以配置自定义的规则,还可以配置自定义的黑白名单以及 CC 防护功能,点击 “黑白名单” 下的 “创建”:
注解: 配置的 IP 是将被检查的请求源 IP,包含可选的子网掩码。
注解: 配置的 URL 将进行路径前缀匹配,例如 /abc 可以匹配 /abc/123。
注解: 配置的 URL 将进行完全匹配,这里请填写完整的 URL 路径。
注解: 将检查 URL 的来源是否为配置的 REFERER, 不是则进行阻断。是则检查访问频率,超过阈值进行阻断。地址是前缀匹配,例如 /abc 可以匹配 /abc/123。
配置完之后可以看到规则列表:
第五步:绑定 WAF 域名防护策略
在第三步中给监听器配置 WAF 域名防护策略时,因为还没有创建 WAF 域名策略,所以弹出的列表是空的。 现在点击监听器下方的 WAF 域名防护策略 “加载” 按钮,可以列出来已创建的域名防护策略。
绑定之后,在监听器下方会列出来所加载的 WAF 域名防护策略:
注解: 配置之后要点击负载均衡器的 “应用修改” 来更新。
针对 WAF 操作的按钮也会单独列出来,可以在这里将 WAF 规则解绑,或者查看 WAF 的检测结果
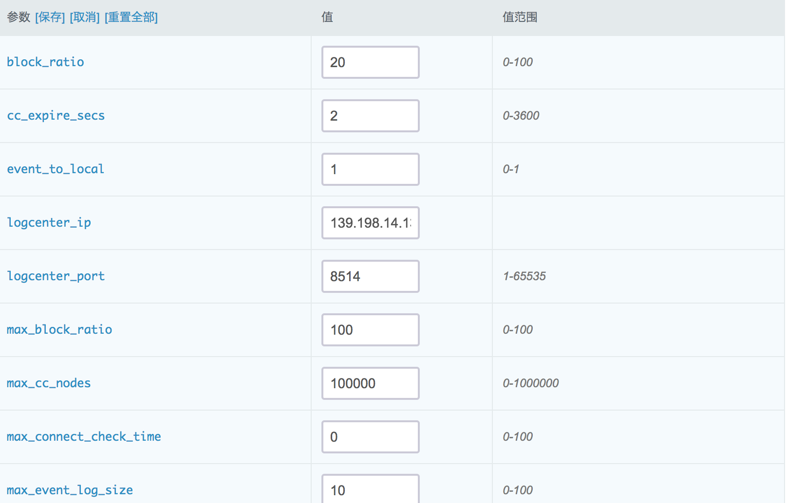
第六步:全局 WAF 配置组
WAF 配置组是针对负载均衡器的全局配置,这里可以针对 WAF 功能做微调,比如配置 WAF 日志发送的地址等,可修改的选项如下:
- logcenter_ip: WAF 的日志服务器地址,不填则不发送
- logcenter_port: WAF 的日志服务器端口
- syslog_facility: WAF 的 syslog facility
- syslog_level: WAF 的 syslog level
- event_to_local: 是否在本地记录 WAF 日志,0 不记录
- max_local_event_num: 本地记录的 WAF 的日志最大条目
- max_cc_nodes: 支持检测的 CC 节点的数量
- cc_expire_secs: CC 检测的节点超时时间
- cc_block_ratio: CC 检测的阻断惩罚速率
- cc_suspect_ratio: CC 检测的可疑惩罚速率
- max_block_ratio: 系统最大阻断率
- max_connect_check_time: 系统保活探测次数
- max_system_ratio: WAF 最大资源利用率
- module_cc_enable: 是否开启 CC 功能,0 不开启
- module_check_enable: 是否开启规则检查功能,0 不开启
- module_iplist_enable: 是否开启 IP 黑白名单功能,0 不开启
- module_urllist_enable: 是否开启 URL 黑白名单功能,0 不开启
注解: 配置之后要点击 “应用修改” 来更新。
第七步:查看 WAF 监控日志
开启 WAF 之后可以查看检测的监控统计,在监听器的右边点击 WAF 的按钮选择 “监控”:
这里是针对每个监听器,按命中的规则和黑白名单来分别统计。
也可以查看整个负载均衡的监控情况,点击 “WAF监控” 选择 “监控”:
点击 “WAF监控” 选择 “日志” 可以查看本地保存的攻击日志:
注解:本地日志默认保存 2000 条,要保存更多日志可以配置 WAF 的日志服务器,WAF 的检测日志可以通过 syslog 的方式发送出去。
WAF 的日志可以通过syslog的格式发送到日志服务器,可以修改配置组中的 logcenter_ip 和 logcenter_port 参数来配置。 同时,可以将日志倒入 ELK 来分析处理,需要使用 logstash-input-syslog 来接收syslog日志,并配置 grok 过滤参数如下:
grok {
match => { “message” => “%{WORD:method} %{HOSTNAME:domain} %{URIPATHPARAM:url} %{NOTSPACE:client_ip} %{WORD:action} %{INT:impact} %{WORD:module} %{NOTSPACE:attack_type} %{NOTSPACE:rule_id} %{NOTSPACE:ua} %{GREEDYDATA:post}” }
}
可配置的 dashboard 效果如下:
关闭 WAF
已经创建好的 WAF 如果要关闭,需要先解绑监听器上绑定的域名防护策略:
然后右键点击负载均衡器,可以看到 “禁用 Web 应用防火墙” 的选项:
注解: 配置之后要点击负载均衡器的 “应用修改” 来更新。
开启 WAF
给已经创建好的负载均衡器开启 WAF 功能时,右键点击负载均衡器,可以看到 “开启 Web 应用防火墙” 的选项:
弹出让我们选择 WAF 配置组的选项:
如果当前负载均衡器的版本太低,会提示进行升级,需要先关闭然后再开启负载均衡器:

开启 WAF 功能之后,需要给监听器绑定域名防护策略,步骤同上。
注解: 配置之后要点击负载均衡器的 “应用修改” 来更新。
性能
WAF 需要做规则匹配,所以需要更多的 CPU 处理时间和内存,QPS 也有少许下降:
- CPU: 根据规则数量和请求的不同 CPU 的使用率有 2% - 30% 的升高
- 内存: 根据规则数量和请求的不同需要 128M 以上的内存
- QPS: 根据规则数量和请求的不同 QPS 有 4% - 10% 的下降
注解: 该数据仅供参考,可根据自己的业务系统做测试来获得第一手资料。























